SELF-OPENING DRINKING STRAW
500 EUR FOR THE DEALBREAKER
Support inventors, help to get this innovation real.
THOROUGH, RELIABLE CLEANING OF DRINKING STRAWS
SELF-OPENING DRINKING STRAW
This innovative drinking straw opens by itself when cleaned in a dishwasher, for example, thus automatically making its interior accessible for thorough cleaning.
This makes it easy to ensure hygienic cleaning of reusable drinking straws, especially in the gastronomy.
Help us bring the innovation to application maturity and distribution.

WITH YOUR HELP
Development of a product suitable for series production and distribution
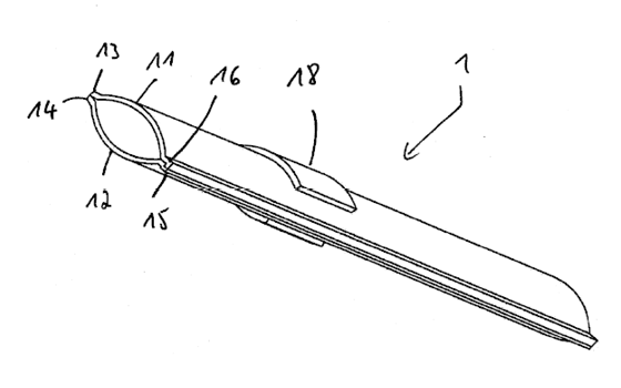
1 / THE INNOVATION:
Self-opening drinking straw
Biodegradable straws already dissolve in the beverage, glass or stainless steel straws are difficult to clean
It is difficult to reliably clean reusable drinking straws - especially in the catering industry. In dishwashers, the inside of the straw is difficult to access and there is no time or personnel to clean it with a brush.
The solution: The drinking straw opens automatically in the hot dishwasher thanks to a temperature-controlled control element. This allows its interior to be reliably cleaned.

The progress with this innovation:
Unlike known solutions, where the drinking straw must be cleaned laboriously by hand, the innovative drinking straw opens by itself in the dishwasher. The cleaning of the inside can thus practically not be forgotten.
- Automatic opening - no incorrect operation possible
- Creates trust with guests
Technology in detail
Download: Utility model (PDF in german)
2 / THE TASK:
Bringing the innovation to series application
The innovation has been achieved - now the task is to develop it further to application maturity. This involves the development and sale of the series product.
We are looking specifically for:
3 / YOUR HELP:
Answer our questions – or share this project with as many experts as possible
Your knowledge and your commitment are crucial for us.
We are looking vor qualified* answers to the following questions:
Do your already know this technical principle?
Have you ever seen or are you aware of a product that works on this principle?
Would you like to bring this product to application maturity?
We are looking for a partner exactly FOR THAT.
Reply or share:
4/ YOUR REWARD
500 EURO for the
relevant piece of information.

5 / OUR COMMON SUCCESS:
Easily and reliably cleanable drinking straws
Thanks to your help, this product will become commercially available on a large scale and thus become a real benefit for people and the environment.
THE STORY BEHIND:
Disintegrating stalks are a pain - as is the tedious brushing out of reusable stalks.

Philip Frenzel
As a consultant for the digital transformation of productions, I want to optimize not just one production step, but ideally an entire value chain.

Approaches
From the initial idea, a variety of possible concepts were elaborated and tested through systematic development.

Development
We had the first idea in the summer of 2021 and the first intellectual property rights were filed. In the following year, we explored numerous technical concepts, which we filed as an international patent application in the summer of 2022.
Your help makes my idea become a reality....
No plastic-free solution is currently satisfactory. Either the straw dissolves in the mouth and/or glass or cleaning is tedious. The self-opening straw is the first stable and safely cleanable straw.
Now it is time to bring our product to market maturity. For this we need support from a competent team for series development and distribution.

















