TEXTILE COMPOSITE MATERIALS
New know-how.
Your answer / your share.
Realizing innovation.
Share here or reply below - your help is crucial!
MAXIMUM FREEDOM OF DESIGN
PRODUCTION OF TEXTILE STRUCTURAL COMPONENTS WITHOUT PREFORMS
This novel production technology eliminates the need for time-consuming draping or the creation of a preform - instead, the planning and design of composite components is carried out exclusively via software in a matter of minutes with a previously unheard-of freedom in mold design, right up to hollow bodies.
This opens up completely new possibilities, both in terms of production technology and application technology, for example for vehicle, aerospace, shipbuilding or furniture construction.
Help us bring the innovation to application maturity.

WITH YOUR HELP
Development of a process suitable for series production
1 / THE INNOVATION:
Composite parts without preform
The problem: Complex, inflexible production of composite components with preforms
Wrinkles often form during the three-dimensional forming of flat fiber mats in preforms. In addition, draping in preforms is difficult or impossible to automate. This makes the production of such a fiber composite component difficult, expensive and time-consuming.
The solution: preformless, iterative draping and curing

The progress with this innovation:
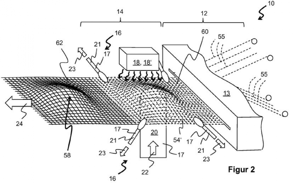
In contrast to conventional preforming processes, the innovative process involves iterative section-by-section fusing. In this process, a section of a textile is first brought into the desired shape by a forming operation and then fixed. The basic idea of the innovative process is thus to harden the textile step by step and locally immediately after its manufacture, for example while a fabric is still emerging from a weaving machine, positioning the already hardened areas so that the part to be hardened is in the correct/desired position/alignment.
- Simple and inexpensive > no preform, no draping
- Fast, flexible and scalable > Profitable from batch size 1
- Maximum freedom > completely new, free form design
Technology in detail
Download: International patent application (PDF)
2 / THE TASK:
Bringing the innovation to series application
The innovation has been achieved - now the task is to develop it further to application maturity. The aim is to develop a pilot production line with which these 3D composite components can go into series production. A sample solution that plant engineers can use to make this innovation usable for industrial partners.
We are looking specifically for:
3 / YOUR HELP:
Answer our questions – or share this project with as many experts as possible
Your knowledge and your commitment are crucial for us.
We are looking vor qualified* answers to the following questions:
Do your already know this technical principle?
Have you ever seen or are you aware of a process that works on this principle?
Would you like to bring this process to application maturity?
We are looking for a partner exactly FOR THAT.
Reply or share:
4/ YOUR REWARD
500 EURO for the
relevant piece of information.

5 / OUR COMMON SUCCESS:
Quick, easy and affordable industrial series production of composite structures
Thanks to your help, this process is becoming industrially applicable on a large scale and is thus becoming a real benefit for people in a wide range of industries.
THE STORY BEHIND:
Almost 80% of the production costs of carbon fiber reinforced material are caused by manual work steps.

Alexander Karl
As a consultant for the digital transformation of productions, I want to optimize not just one production step, but ideally an entire value chain.

Approaches
Whether it's through a microwave, a UV lamp, or applying heat, I've tried every known option for the automated manufacturing process myself.

Development
From the first drawing of a woven structure to the preparation of the patent took 5 years. Finally, the national patent application was filed in 2020, followed by the international patent application.
Your help makes my idea become a reality....
The problem with current manufacturing processes is the high production costs. Due to the many individual, sometimes manual work steps, complex design of the weave structure and curing, the production of fiber composite components is particularly difficult, expensive and time-consuming. For curing, so-called press molds (negative/positive) are specially made and used for the molded part. Due to the use of press molds, only limited molded parts are possible in terms of design. By means of my patent pending process, a dynamic "on the weave" design of the molds is possible.
Now it is time to design and manufacture a prototype of this weaving machine. For this I need support from a competent team of mechanical engineers, designers, engineers and programmers - ideally by means of access to the existing departments of "my" investor, in order to implement the construction of the prototype in an established environment. By means of their (co-)financing, we jointly go the way from the project to the industrialization of the entire product line.

















