SELBSTÖFFNENDER TRINKHALM
500 EUR FÜR DEN „DEALBREAKER"
Unterstütze Erfinder und hilf mit, diese Innovation Wirklichkeit werden zu lassen.
GRÜNDLICHE, ZUVERLÄSSIGE rEINIGUNG VON tRINKHALMEN
SELBSTÖFFNENDER TRINKHALM
Dieser neuartige Trinkhalm öffnet sich beispielsweise bei der Reinigung in einer Spülmaschine von selbst und macht damit sein Inneres automatisch einer gründlichen Reinigung zugänglich.
Damit kann auf einfache Weise eine hygienische Reinigung von wieder verwendbaren Trinkhalmen insbesondere in der Gastronomie sichergestellt werden.
Helfen Sie uns, die Innovation zur Anwendungsreife zu bringen.

MIT IHRER HILFE
(Fertig-)Entwicklung eines serientauglichen Produkts und Vertrieb
1 / DIE INNOVATION:
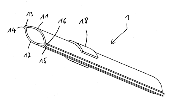
Selbstöffnender Trinkhalm
Das Problem: Biologisch abbaubare Halme lösen sich bereits im Getränk auf, Glas- oder Edelstahlhalme sind schwer zu reinigen
Es ist schwierig, wiederverwendbare Trinkhalme - vor allem in der Gastronomie - zuverlässig zu reinigen. In Spülmaschinen ist das Innere des Halmes nur schwer zugänglich und für eine Reinigung mit einer Bürste fehlt Zeit und Personal.
Die Lösung: Der Trinkhalm klappt sich in der heißen Spülmaschine durch ein temperaturgesteuertes Stellelement selbsttätig auf. Damit lässt sich sein Inneres zuverlässig reinigen.

Der Fortschritt mit dieser Innovation:
Im Unterschied zu bekannten Lösungen, bei denen der Trinkhalm aufwendig von Hand gereinigt werden muss, öffnet sich der innovative Trinkhalm von selbst in der Spülmaschine. Die Reinigung des Inneren kann damit praktisch nicht vergessen werden.
- Automatisches Öffnen - keine Fehlbedienung möglich
- Schafft Vertrauen bei Gästen
Technik im Detail
Download: Gebrauchsmusterschrift (PDF)
2 / DIE AUFGABE:
Die Innovation in Serie zur Anwendung bringen
Die Innovation ist geschafft – jetzt gilt es, sie zur Anwendungsreife weiter zu entwickeln. Es geht um die Entwicklung und den Vertrieb des Serienproduktes.
Wir suchen ganz konkret:
3 / IHRE HILFE:
Beantworten Sie unsere Fragen – oder leiten Sie dieses Projekt an möglichst viele Experten weiter
Ihr Wissen und Ihr Engagement sind für uns entscheidend.
Wir suchen qualifizierte* Antworten zu folgenden Fragen:
Kennen Sie bereits dieses technische Prinzip?
Haben Sie schon einmal ein Produkt gesehen oder ist Ihnen ein Produkt bekannt, das nach diesem Prinzip funktioniert?
Möchten Sie dieses Produkt zur Anwendungsreife bringen und/oder vertreiben?
Wir suchen genau DAFÜR einen Partner.
Antworten oder weiterleiten:
4/ IHRE BELOHNUNG
500 EURO für den
entscheidenden Hinweis.

5 / UNSER GEMEINSAMER ERFOLG:
Einfach und zuverlässig reinigbare Trinkhalme
Dank Ihrer Mithilfe wird dieses Produkt im großen Maßstab kommerziell verfügbar und wird so zu einem echten Gewinn für Mensch und Umwelt.
DIE STORY DAHINTER:
Sich auflösende Halme nerven - ebenso das mühsame Ausbürsten wiederverwendbarer Halme.

Philip Frenzel und Klaus P. Raunecker
Im Herbst 2021 haben wir uns erstmals über Klaus' Idee eines sich öffnenden Trinkhalms unterhalten. Als „durch und durch“ überzeugter Mechatronik-Ingenieur war Philip direkt begeistert. Hightech in doch sehr „einfach“ scheinenden Dingen ist genau das Feld, in dem ein Mechatroniker den Unterschied machen kann.

Annäherungsversuche
Es gibt viele Möglichkeiten, Temperaturänderungen in Bewegungen zu verwandeln. Wir haben uns intensiv mit verschiedensten Ansätzen auseinandergesetzt.

Entwicklung
Jetzt kommt es darauf an, die sinnvollste Variante zu finden und zur Serienreife zu bringen.
Ihre Hilfe lässt unsere Idee Wirklichkeit werden...
Keine plastikfreie Lösung ist derzeit zufriedenstellend. Entweder der Halm löst sich in Mund und/oder Glas auf oder die Reinigung ist mühsam. Der selbstöffnende Strohhalm ist der erste stabile und sicher reinigbare Halm.
Nun ist es an der Zeit, unser Produkt zur Marktreife zu führen. Hierzu benötigen wir Unterstützung durch ein kompetentes Team für Serienentwicklung und Vertrieb.















